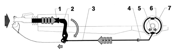
Prinzip der Spreizhebel Auflaufbremse bei Anhängern!![]() copright Al-Ko Kober GmbH Betriebsbremse:Das Zugfahrzeug bremst bzw. fährt bergab – die Zugstange (1) der Auflaufeinrichtung schiebt sich je nach Größe der Deichselkraft ein und drückt auf den Umlenkhebel (2) – dieser zieht über das Bremsgestänge (3) am Bowdenzug (4) und am Spreizgelenkschloß (5). Dieses drückt die Bremsbacken (6) auseinander gegen die Bremstrommel (7) – der Anhänger bremst. Rückwärtsfahrt:Das
Zugfahrzeug fährt zurück – schiebt die Zugstange(1) der
Auflaufeinrichtung bis zum Endanschlag ein – über Umlenkhebel(2),
Bremsgestänge(3), Bowdenzug(4) und Spreizgelenkschloß (5) werden die
Bremsbacken(6) an die Bremstrommel (7) angedrückt – die Bremstrommel
dreht sich rückwärts und nimmt die ablaufende Backe mit. Dabei schwenkt
der Übersetzungshebel zurück und kompensiert den ganzen Betätigungsweg. Feststellbremse:Bei
der Gasfederversion den Handbremshebel über den Totpunkt ziehen. zu weiterer BeschreibungWollen sie ihre Auflaufeinrichtung ersetzen, so sind einige Werte zu beachten, damit die Auflaufbremse mit der montierten Radbremse korrekt zusammenarbeitet. |


